News Feed
Seminar on the Delaware’s Potential to Reshape Early-Stage Disease Detection
Check out the recording of the seminar to learn about a major development in flow cytometry, spearheaded by our Delaware Flow NanoCytometer.
Clog-free Analysis with the Delaware Flow NanoCytometer
Discover how the Delaware can eliminate one of the biggest issues in nanoparticle analysis.
Behind the Scenes At Our Mountain View Headquarters
Check out our production facility, where the last stage of the magic happens!
Step-by-Step Protocol for the Delaware
Read more to find out what the Delaware can do!.
Summer 2025 Taiwan Photo Gallery
Check out some photos from our recent trip to Taiwan!
Automatic Absolute Concentration with the Delaware
Read more about this major advancement in flow cytometry!
The Delaware Flow NanoCytometer Receives CE Mark
Officially certified for sale in Europe as of June 2025.
Dr. Vacca Provides Collaborative Training for U. Chieti-Pescara and Cytoflow Service Teams
Reach out if you are interested in a demonstration of the Delaware's capabilities!
Kinetic River is a Gold Sponsor at the 2nd National Congress of Core Facilities
Thank you to the University of Bologna for hosting this event!
The University of Chieti’s New Delaware Produces Striking Initial Results
We were extremely pleased to witness firsthand our customer’s “wow” moment as they saw their first results on their new Delaware Flow NanoCytometer!
The First Delaware in Europe Has Been Installed
This marks our second international Delaware installation in just one month!
Customized Delaware for Academia Sinica, Taiwan
The first Delaware Flow NanoCytometer in Asia was tailored to our customer’s needs for their research on novel nanoparticle biomarkers with unique infrared emission properties.
The First Delaware in Asia Has Been Installed
Kinetic River has officially completed the installation of the first Delaware Flow NanoCytometer in Asia!
An Exciting Month Ahead!
We're going across the world to Taiwan and Italy to deliver two Delaware Flow NanoCytometers to leading research institutions.
Kinetic River Signs Sales Agreement with The University of Chieti in Italy
The Delaware's second international sale!
Kinetic River Presents at ISEV Annual Meeting
We always enjoy the opportunity to connect with our fellow extracellular vesicle researchers!
Kinetic River Welcomes Ann Lu to the Team
Find out more about our new Principal Scientist!
Kinetic River Creates Magnification Attachment for Macro Thermal Camera
Read more about this small but mighty tool!
Kinetic River Sponsors ISEV Workshop in Brescia, Italy
Thank you to ISEV, EVIta-Italian Society for Extracellular Vesicles, and the University of Brescia for hosting this event.
Kinetic River Celebrates 15 Years Since Its Founding
Happy 15th Birthday to Kinetic River!!
Kinetic River Attends Photonics West
Just a short drive from our headquarters, Photonics West in San Francisco is one of our favorite conferences!
Webinar on Multiparameter Exosome Analysis Using the Delaware Now Available
Multicolor. High Resolution. Clog-Free. Isn't that what we all want for our analyzers?
Kinetic River Signs Sales Agreement with Academia Sinica
Read more about the Delaware's first international sale!
KRC Sponsors University of Rome Tor Vergata’s Conference on EVs and Nanoparticles
Thank you to the University of Rome Tor Vergata for hosting!
KRC Attends Workshop Hosted by the University of Urbino
The workshop is entitled “Flow Cytometry in the Analysis of Cellular Function."
Dr. Vacca Presents Webinar for PATCA on Flow Cytometry
Check out the recorded talk on our website!
Kinetic River Is A Sponsor at Tech4EVIta 2024
We are greatly looking forward to the workshop!
Kinetic River Featured in HansaBioMed Life Sciences Ltd’s Brochure
Check out their latest brochure and the mention of our Delaware Flow NanoCytometer®.
Delaware Flow NanoCytometer® Demo Room Coming Soon
Try out our Delaware Flow NanoCytometer® at our headquarters!
Photos from CYTO and SelectBIO’s Meeting
It was a wonderful time in both Scotland and Miami, check out the photos on our website!
Our New Nanoparticle Analysis Service Is Now Available
Simply send us your samples and we will measure and analyze them using the Delaware, and give you a detailed report of our findings.
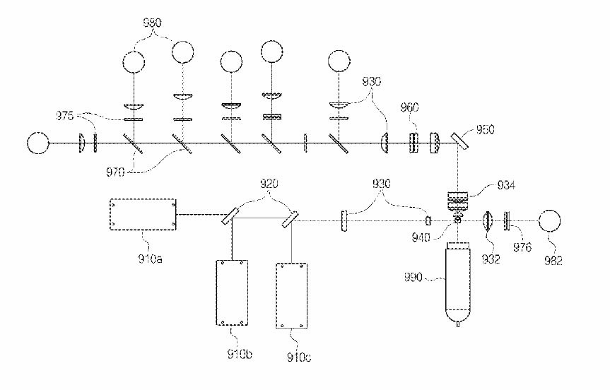
Kinetic River Issued 26th Patent
Kinetic River was recently issued our 26th patent, "Flow Cytometry Apparatus and Methods."
Kinetic River Issued Milestone 25th Patent
Kinetic River was recently issued our milestone 25th patent, "Apparatus and Methods for Particle Analysis and Autofluorescence Discrimination."
Our Latest Newsletter Is On Our Website
Check it out in case you missed it.
View the newsletter →
Sign Up for Our Newsletter!
Our next newsletter is coming soon!
Don't miss out. Sign up now. →
Check Out Our Latest Tech Note
On multiparameter phenotyping of extracellular vesicles on the Delaware Flow NanoCytometer®
Kinetic River is a Gold Sponsor, Exhibitor and Speaker at SelectBIO
Be sure to come by our table to see the Delaware, and don't miss Dr. Vacca's talk!



















































